Spoločnosť Honor podala a následne zverejnila patentovú prihlášku na nový typ skladacieho smartfónu. Neskladá sa na štýl Galaxy Z Fold a dokonca ani na štýl Galaxy Z TriFold. Ide o komplexnejší skladací formát, ktorý sa skladá rovno štyrikrát. Ide o najkomplexnejší ohýbateľný formát, aký doteraz patentovala akákoľvek veľká značka, a to navyše v momente, kedy trh so skladacími zariadeniami zažíva najrýchlejší rast vo svojej histórii. O patente informuje server GizChina.
Štyri záhyby, nie len štyri segmenty
Konštrukcia opísaná v patente sa zásadne líši od toho, čo dnes trh pozná. Štandardný skladací telefón má jeden záhyb. Tri-fold zariadenia ako Huawei Mate XT alebo Samsung Galaxy Z TriFold pridávajú druhý pant a tretí segment displeja.
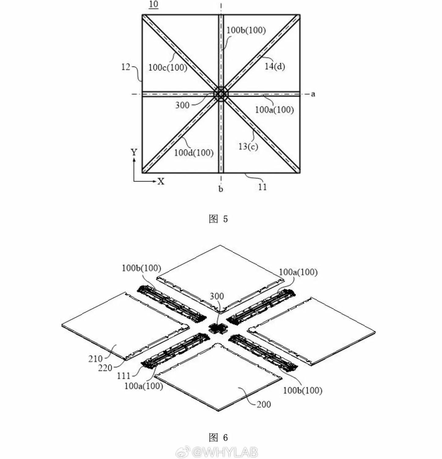
Honor ide ešte ďalej. Flexibilný displej sa skladá cez viacero pántových bodov, pričom povrch je rozdelený do štyroch hlavných „krídel“ usporiadaných okolo centrálneho bodu. Kresby patentovej dokumentácie zobrazujú štvorec líniami záhybu, ktoré vychádzajú z centra, čo vizuálne pripomína skladaciu mapu alebo origami vzor.
Práve „štyri záhyby“ sú kľúčovým signálom a zároveň demonštráciou technologických kapacít Honoru. Nejde totiž len o pridanie ďalšieho pántu, ale o multiplikáciu inžinierskych výziev, ktoré každý nový záhyb prináša. Pri jednom pánte existuje iba jedno kritické miesto napätia. Pri štyroch pantoch musí každý z nich fungovať v presnej tolerancii, inak sa mechanické odchýlky šíria naprieč celou konštrukciou a môžu spôsobiť deformáciu celého panela.


Kopa problémov, kopa riešení
Každý záhyb v skladacom telefóne je zdrojom niekoľkých potenciálnych problémov, ako sú vizuálne viditeľný záhyb na OLED paneli, prienik prachu do konštrukcie, únava materiálu pri opakovanom skladaní a nerovnomerné opotrebenie pohyblivých častí.
Pri štvornásobnom skladaní sa tieto výzvy násobia. Štyri pánty musia pri zatváraní dosiahnuť rovnakú rovinu, všetky segmenty displeja musia zostať koplanárne (ležiace v identickej rovine) pri rozložení a dotykové senzory musia reagovať rovnomerne naprieč všetkými záhybovými zónami.
Patent naznačuje, že Honor skúma systém akýchsi vodiacich koľajníc pozdĺž okrajov zariadenia, ktoré by synchronizovali pohyb jednotlivých krídel, podobne ako mechanizmus skladacej mapy, kde každý panel drží tvar práve vďaka fyzickej väzbe na susedné časti.
Obzvlášť citlivou témou pri skladacích telefónoch je odolnosť. Výrobcovia štandardne uvádzajú počty testovacích cyklov. Napríklad Samsung pre Galaxy Z Fold7 uvádza stovky tisíc skladaní, no reálne opotrebenie závisí od množstva faktorov. Štvornásobná architektúra by si vyžadovala certifikáciu každého z pantov na podobnej úrovni, a to pri zachovaní celkovej kompaktnosti zariadenia.
Telefóny sa menia, klasické aj skladacie
Ako sme spomenuli, patent spoločnosti Honor prichádza v celkom zaujímavom čase. Hlavne čínski výrobcovia smartfónov systematicky posúvajú hranice skladacích formátov. Huawei Mate XT Ultimate Design bol prvým komerčne dostupným tri-fold telefónom na svete, pričom Samsung Galaxy Z TriFold prišiel len niekoľko mesiacov po ňom.
Podľa dát IDC citovaných portálom CNET si Huawei v treťom štvrťroku 2025 udržal 68,9-percentný podiel na čínskom trhu so skladacími smartfónmi. To je dominancia, ktorú sa ostatní výrobcovia aktívne snažia narušiť.
A Honor je rozhodne jedným z nich. Na MWC 2026 v Barcelone predstavil Magic V6, doposiaľ najtenší skladací telefón spoločnosti s hrúbkou 4,1 milimetra v rozloženom stave a silikónovo-uhlíkovou batériou s kapacitou 5 600 mAh.
Takéto zásadné inovácie prináša nielen vďaka silnému odhodlaniu, ale aj masívnym investíciám. Ročne do tohto segmentu naleje viac ako 10 percent celkových príjmov, pričom len do technológie kremíkovo-uhlíkových batérií vložil 139 miliónov dolárov. Archív patentov Honoru práve vďaka tomu obsahuje desiatky konceptov, z ktorých aspoň časť sa môže v horizonte dvoch až troch rokov objaviť vo forme funkčných prototypov.
Do segmentu však čoskoro vstúpi aj Apple. Skladací iPhone je plánovaný už na tento rok, čo by mohlo posunúť záujem spotrebiteľov o skladacie zariadenia mimo celkom úzkeho okruhu užívateľov, ktorí sú technologickými nadšencami a zároveň priaznivcami Androidu.

Patent nezaručuje produkt
Je ale nutné mať na pamäti, že patent je len výskumný záväzok, nie plán konkrétneho produktu. Spoločnosti podávajú patenty preventívne, hlavne aby ochránili svoje nápady, preskúmali ich rôzne variácie a označili teritórium skôr, než to urobia konkurenti.
Predmetný patent teda jednoducho hovorí, že Honor aktívne skúma “quad-fold” architektúru a chce mať tento výskum zaznamenaný na verejnom zázname. Nič viac, nič menej.
Potenciál takéhoto zariadenia je však pri úspešnom riešení inžinierskych problémov obrovský. Úplne rozložené quad-fold zariadenie by mohlo ponúknuť plochu blízku malému notebooku, použiteľnú nielen na čítanie, ale aj na editovanie rozsiahlych dokumentov alebo multitasking, pričom zložené by sa zmestilo do vrecka nohavíc.
Pre lepšiu predstavu, Huawei Mate XT v rozloženom stave dosahuje 10,2 palca, štvornásobne skladaný telefón by mohol prekonať hranicu 12 palcov.
Kedy (a či vôbec) sa takéto zariadenie dostane do predaja, zatiaľ nevieme.

